



邮政EMS快递单号查询平台是由邮政推出的一款软件,让用户能够更方便、高效地享受服务。该软件实时更新多种功能,并提供在线查询快递单号的服务。感兴趣的用户欢迎点击下载。
由中国邮政速递物流有限公司开发的快递服务应用,秉持“全心、全速、全球”的服务理念,为用户提供自助下单、订单管理、查询服务、特色服务等一站式掌上便捷快件服务。通过手机使用EMS在线寄件,不仅节省时间,还能减少体力消耗。

我的快递:您可以查看快速的物流信息,了解包裹的寄送情况;
在线客服:提供在线客服人员,解答用户的寄件疑问;
附近网点:APP会及时提供附近的邮政线下营业厅信息,方便用户办理业务;
禁限寄:列出禁止寄送的物品清单,用户可以在线查看;
快递员上门:用户可以在线发送需要寄送的快递订单,快递员会上门取件;
网点自寄:用户可以到线下的网点,使用APP扫描二维码快速填写寄件订单进行寄件。
1. 实时快递位置查询;
2. 个人收寄服务;
3. 营业网点查询;
4. 港澳台服务办理;
1. 下载并打开软件,在首页选择邮寄方式,包括快递员上门、服务点自寄、批量寄。这里以快递员上门为例。

2. 点击进入页面,然后填写相关信息;

3. 填写物品信息、期待上门时间、报价/赔偿等信息,系统会显示预估邮费,可选择寄付或到付。全部填写完毕后,点击【提交】,等待快递员上门即可。
1. 下载并打开软件,首页点击“港澳台/国际”;

2. 填写寄件和收件地址,选择寄件方式;

3. 海关申报信息是必填项,所有资料填完后,点击提交即可。

一、申报流程

二、申报常见问题
客户注册:
1. 客户注册时需详细了解客户必读及其他相关内容,避免产生不必要的纠纷和误解;
2. 客户采用手机号作为用户名注册,便于接收通知短信;
3. 每个客户只能注册一个账户。
物品关税:
1. 客户必须如实申报物品的品名、价值、数量,如实申报,承诺对不实申报产生的后果承担责任;
2. 任何进口中国的个人物品都可能被征缴关税,未及时赋税可能导致罚没或退运,并承担退运费用。
3. 主要服务于私人物品,物品有品种、数量和价值的规定,详情参照海关总署公告2010年第43号(关于调整进出境个人邮递物品管理措施有关事宜);
4. 物品价值:个人寄自或寄往港、澳、台地区的物品,每次限值为800元人民币;寄自或寄往其他国家和地区的物品,每次限值为1000元人民币。
5. 物品品种:物品为个人日常生活用品;
6. 物品数量:须控制在个人自用范围内。
7. 如对相关规定不能完全理解或执行,请及时与本公司联系。
身份证:
根据国家相关部门发布的政策,邮件申报需上传身份证以确保清关顺利,希望用户积极配合,带来不便敬请谅解。
说明:
1. 身份证正面和反面需要在两张图片中。身份证正反面的朝向为横向,图像端正,不歪斜,不竖立;图片内容清晰,在适当放大后仍能清晰辨识。
2. 底色不能为白色,能清晰辨识身份证边界。
3. 身份证有效区域在整个图片中占比要合适,不允许出现无效部分占比过大的情况。
4. 图片规格小于400KB,目前服务器支持jpg,jpeg,png格式的图片。
5. 证件有效期在3个月内的不予受理。
提醒:证件拍摄器材不限,数码相机、手机均可,但最终需符合上述条件。
6. 底色不能为白色,能清晰辨识身份证边界。
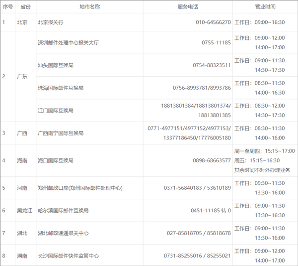
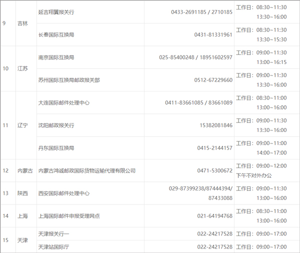
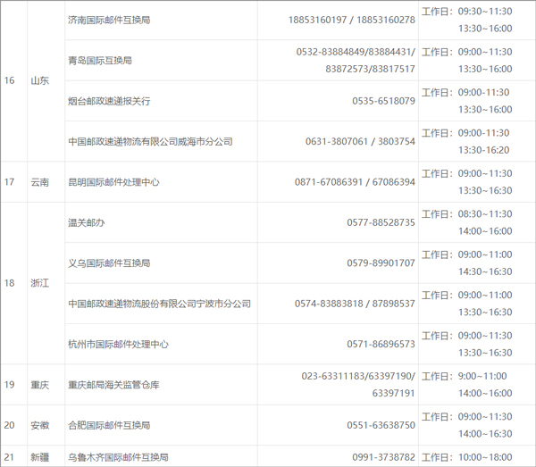
三、各地货物申报手续办理信息:
邮件需按照货物规定办理通关手续,可委托速递公司或其他有进出口资质的企业及报关企业办理货物报关手续,请速提供以下单证:
1. 本通知单;
2. 签章后的《代理委托报关书》;
3. 货物的正式发票或形式发票;装箱清单;
4. 进出口货物报关;
5. 合同(正本、副本、复印件);
6. 邮件详情单。
其他:
以上单证需盖公司章。本公司收到所需文件、资料以及所有费用后,即代办报关手续。邮运进口货物自本公司向海关驻邮局办事处申报总包之日起第15日由海关征收进口货物完税价格0.5‰的滞报金。
联系邮政公司:




v4.2.3版本
1. 登录功能优化
2. 国内协议客户门户功能优化
v4.1.2版本
1. 优化国内协议客户账单功能
2. 优化国内协议客户门户角色权限功能
3. 优化服务评价功能
4. 优化查快递功能
5. 优化账户登录安全功能
6. 国际下单新增寄往伊朗国家
7. 国内协议客户门户投诉理赔功能上线
8. 修复已知问题
v3.8.7 版本
优化账户安全性
v3.8.3版本
· 支持快递员真实头像展示
· 运费时效查询功能全面升级
· EMS APP功能界面全面升级
· 国际及港澳台下单功能优化迭代
· 实名认证功能新增人脸识别服务
· 邮件轨迹查询新增支持查询一票多件邮件
v3.4.5版本
1. 修复已知问题
2. 寄件订单优化
3. 国际寄件下单优化
4. 邮件查询轨迹优化
v3.4.3版本
1. 国际下单优化
2. 寄件下单优化
3. EMS钱包功能优化
4. 搜索订单优化
5. 投诉理赔功能优化
v3.3.8 版本
1. 新增邮政APP、邮政官网互联功能
2. 国际下单功能优化
3. 第三方登录功能优化
4. 电子发票功能优化
5. 修复已知的BUG
v3.3.4版本
1. 个人中心功能优化
2. 寄件服务评价功能优化
3. 手机号查件功能优化
4. 运费时效查询功能优化
v3.1.7版本
1. 优化首页
2. 优化寄件
3. 优化部分机型适配